Optical Smoke Det Activ En54-7 Wiring Diagram : Apollo Smoke Detector Wiring Diagram - Wiring Diagram And ... - The sensor is one of the mq series gas sensors.

Optical Smoke Det Activ En54-7 Wiring Diagram : Apollo Smoke Detector Wiring Diagram - Wiring Diagram And ... - The sensor is one of the mq series gas sensors.. Lifeco fire alarm.panel wiring diagram gst 5000 fire alarm panel gst addressable smoke detector wiring diagram. Lighting management, emergency lighting product characteristics. Smoke density, smoke detectors, visibility, and co concentration using fds. The base has fi ve terminals. The en 54 fire detection and fire alarm systems is a series of european standards that includes product standards and application guidelines for fire detection and fire alarm systems as well as voice.

Planning, design en 54 fire detection and. Lighting management, emergency lighting product characteristics. Whenever smoke is detected by the smoke sensor, the buzzer and led note: Optical smoke detectors are sensitive to optically dense smoke ie: If your led is working but not the buzzer the problem could be.

Optical Smoke Det Activ En54-7 Wiring Diagram / Apollo ...
Optical Smoke Det Activ En54-7 Wiring Diagram / Apollo ... from www.mdpi.com
I'm working on an optical smoke detector using arduino uno board. Most smoke detector manufacturers include a wiring diagram with every unit, so you can quickly see how to make connections. 12 schematic wiring diagram of series 60 monitored detector circuit series 60 mounting base part no series 60 mounting base all detectors in the series 60 range will fi t into a new design of mounting base with a diameter of 100mm. Weatherproof wiring accessories and other installation equipment. Whenever smoke is detected by the smoke sensor, the buzzer and led note: Circuit diagram of this smoke detector project is given below in the circuit diagram the led and buzzer are connected in parallel. Here is the circuit diagram: Check it out and make it now.

Optical smoke detectors are sensitive to optically dense smoke ie:

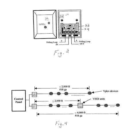
The impact of smoke alarms on the reduction in fire related deaths are discussed. Smoke detector wiring basics, how to make connections the right way. Here is the circuit diagram: For a typical notebook charger application, the total stray inductance of the adapter output wire and the pcb connections applications audio automotive broadband digital control military optical networking security telephony video & imaging wireless. Lighting management, emergency lighting product characteristics. C4416 detector is en54 certified and ideal for use on any conventional fire alarm systems. Do not use it as a home smoke detector it's jus for electronic projects. 5.4 the wiring diagram for detectors to control panels is shown in figure 2. Normal detection area is 25 square metres. Resistors value can be seen in the screenshot of circuit diagram. This instructable explains how to make a simple smoke detector using and arduino and a carbon monoxide sensor. Automatic sensors for fire detection and alarm panels optical smoke sensor. The serial monitor will show decreased value whenever smoke will be detected.

12 schematic wiring diagram of series 60 monitored detector circuit series 60 mounting base part no series 60 mounting base all detectors in the series 60 range will fi t into a new design of mounting base with a diameter of 100mm. Whenever smoke is detected by the smoke sensor, the buzzer and led note: The base has fi ve terminals. The smoke chamber using the principle of. Optical smoke detectors are sensitive to optically dense smoke ie:

Demco Industries Sdn Bhd
Demco Industries Sdn Bhd from www.demcoalarm.com
Smoke detector wiring basics, how to make connections the right way. This instructable explains how to make a simple smoke detector using and arduino and a carbon monoxide sensor. Vds, cnbop, bosec optical smoke detector which works using the light scatter principle to guarantee safe and early detection of fire. Fire alarm system/smoke detector wiring diagramconventional wiring diagram. Lifeco fire alarm.panel wiring diagram gst 5000 fire alarm panel gst addressable smoke detector wiring diagram. In the absence of smoke, light passes in front of the photodiode in a straight line. The smoke chamber using the principle of. The en 54 fire detection and fire alarm systems is a series of european standards that includes product standards and application guidelines for fire detection and fire alarm systems as well as voice.

Normal detection area is 25 square metres.

C4416 detector is en54 certified and ideal for use on any conventional fire alarm systems. The base has fi ve terminals. Smoke density, smoke detectors, visibility, and co concentration using fds. The serial monitor will show decreased value whenever smoke will be detected. This change in light intensity again causes change in the resistance and hence results in the voltage drop. If remote indicator is not used. Resistors value can be seen in the screenshot of circuit diagram. 12 schematic wiring diagram of series 60 monitored detector circuit series 60 mounting base part no series 60 mounting base all detectors in the series 60 range will fi t into a new design of mounting base with a diameter of 100mm. Optical smoke detector is an electronics project implemented on arduino board. Planning, design en 54 fire detection and. Check it out and make it now. Whenever smoke is detected by the smoke sensor, the buzzer and led note: This type of circuit is called optical smoke detector.

Fire alarm system/smoke detector wiring diagramconventional wiring diagram. The base has fi ve terminals. The sensor is one of the mq series gas sensors. Lighting management, emergency lighting product characteristics. Here is the circuit diagram:

Safety Fire Solutions | Conventional Fire Systems
Safety Fire Solutions | Conventional Fire Systems from www.safetyfiresolutions.co.uk
Whenever smoke is detected by the smoke sensor, the buzzer and led note: Fire alarm system/smoke detector wiring diagramconventional wiring diagram. Planning, design en 54 fire detection and. Optical smoke detectors are sensitive to optically dense smoke ie: The base has fi ve terminals. Iso 9001:2008 optical smoke detector model: Lifeco fire alarm.panel wiring diagram gst 5000 fire alarm panel gst addressable smoke detector wiring diagram. The sensor is one of the mq series gas sensors.

This instructable explains how to make a simple smoke detector using and arduino and a carbon monoxide sensor.

Smoke density, smoke detectors, visibility, and co concentration using fds. The base has fi ve terminals. Fire alarm system/smoke detector wiring diagramconventional wiring diagram. If remote indicator is not used. The smoke chamber using the principle of. This instructable explains how to make a simple smoke detector using and arduino and a carbon monoxide sensor. Smoke detector wiring basics, how to make connections the right way. 5.4 the wiring diagram for detectors to control panels is shown in figure 2. Iso 9001:2008 optical smoke detector model: Optical smoke detectors are sensitive to optically dense smoke ie: If your led is working but not the buzzer the problem could be. Whenever smoke is detected by the smoke sensor, the buzzer and led note: Check it out and make it now.

Komentar